Доставка завтра - 390 ₽
Array
(
[GROUP] => Array
(
[ID] => 2
[XML_ID] =>
[CODE] => OSNOVNYE_PARAMETRY
[NAME] => Основные параметры
[SORT] => 1
[ICON_PATH] =>
)
[PROPERTIES] => Array
(
[0] => Array
(
[ID] => 627
[IBLOCK_ID] => 32
[NAME] => Артикул
[ACTIVE] => Y
[SORT] => 1
[CODE] => ARTICLE
[DEFAULT_VALUE] =>
[PROPERTY_TYPE] => S
[ROW_COUNT] => 1
[COL_COUNT] => 30
[LIST_TYPE] => L
[MULTIPLE] => N
[XML_ID] =>
[FILE_TYPE] =>
[MULTIPLE_CNT] => 5
[LINK_IBLOCK_ID] => 0
[WITH_DESCRIPTION] => N
[SEARCHABLE] => Y
[FILTRABLE] => Y
[IS_REQUIRED] => N
[VERSION] => 1
[USER_TYPE] =>
[USER_TYPE_SETTINGS] => Array
(
)
[HINT] =>
[~NAME] => Артикул
[~DEFAULT_VALUE] =>
[VALUE_ENUM] =>
[VALUE_XML_ID] =>
[VALUE_SORT] =>
[VALUE] => GB_58232
[PROPERTY_VALUE_ID] => 22191302
[DESCRIPTION] =>
[~VALUE] => GB_58232
[~DESCRIPTION] =>
[DISPLAY_VALUE] => GB_58232
)
[1] => Array
(
[ID] => 629
[IBLOCK_ID] => 32
[NAME] => Серия
[ACTIVE] => Y
[SORT] => 3
[CODE] => SERIES
[DEFAULT_VALUE] =>
[PROPERTY_TYPE] => S
[ROW_COUNT] => 1
[COL_COUNT] => 30
[LIST_TYPE] => L
[MULTIPLE] => N
[XML_ID] =>
[FILE_TYPE] =>
[MULTIPLE_CNT] => 5
[LINK_IBLOCK_ID] => 0
[WITH_DESCRIPTION] => N
[SEARCHABLE] => Y
[FILTRABLE] => Y
[IS_REQUIRED] => N
[VERSION] => 1
[USER_TYPE] =>
[USER_TYPE_SETTINGS] => Array
(
)
[HINT] =>
[~NAME] => Серия
[~DEFAULT_VALUE] =>
[VALUE_ENUM] =>
[VALUE_XML_ID] =>
[VALUE_SORT] =>
[VALUE] => Estelar
[PROPERTY_VALUE_ID] => 22191305
[DESCRIPTION] =>
[~VALUE] => Estelar
[~DESCRIPTION] =>
[DISPLAY_VALUE] => Estelar
)
[2] => Array
(
[ID] => 676
[IBLOCK_ID] => 32
[NAME] => Страна производителя
[ACTIVE] => Y
[SORT] => 4
[CODE] => PROP_COUNTRY
[DEFAULT_VALUE] =>
[PROPERTY_TYPE] => L
[ROW_COUNT] => 1
[COL_COUNT] => 30
[LIST_TYPE] => L
[MULTIPLE] => Y
[XML_ID] =>
[FILE_TYPE] =>
[MULTIPLE_CNT] => 5
[LINK_IBLOCK_ID] => 0
[WITH_DESCRIPTION] => N
[SEARCHABLE] => N
[FILTRABLE] => Y
[IS_REQUIRED] => N
[VERSION] => 1
[USER_TYPE] =>
[USER_TYPE_SETTINGS] => Array
(
)
[HINT] =>
[~NAME] => Страна производителя
[~DEFAULT_VALUE] =>
[VALUE_ENUM] => Array
(
[0] => Австрия
)
[VALUE_XML_ID] => Array
(
[0] => 4d4c0c9d7536f87f54a2d30c826e1d90
)
[VALUE_SORT] => Array
(
[0] => 500
)
[VALUE] => Array
(
[0] => Австрия
)
[PROPERTY_VALUE_ID] => Array
(
[0] => 22191364
)
[VALUE_ENUM_ID] => Array
(
[0] => 346
)
[DESCRIPTION] => Array
(
[0] =>
)
[~VALUE] => Array
(
[0] => Австрия
)
[~DESCRIPTION] => Array
(
[0] =>
)
[DISPLAY_VALUE] => Австрия
)
[3] => Array
(
[ID] => 712
[IBLOCK_ID] => 32
[NAME] => Гарантия, месяцы
[ACTIVE] => Y
[SORT] => 5
[CODE] => GARANTIYA_MESYATSY
[DEFAULT_VALUE] =>
[PROPERTY_TYPE] => N
[ROW_COUNT] => 1
[COL_COUNT] => 30
[LIST_TYPE] => L
[MULTIPLE] => N
[XML_ID] =>
[FILE_TYPE] =>
[MULTIPLE_CNT] => 5
[LINK_IBLOCK_ID] => 0
[WITH_DESCRIPTION] => N
[SEARCHABLE] => N
[FILTRABLE] => N
[IS_REQUIRED] => N
[VERSION] => 1
[USER_TYPE] =>
[USER_TYPE_SETTINGS] => Array
(
)
[HINT] => Срок, в который производитель обязуется произвести замену товара в случае поломки не по вине покупателя
[~NAME] => Гарантия, месяцы
[~DEFAULT_VALUE] =>
[VALUE_ENUM] =>
[VALUE_XML_ID] =>
[VALUE_SORT] =>
[VALUE] => 12
[PROPERTY_VALUE_ID] => 22191351
[DESCRIPTION] =>
[~VALUE] => 12
[~DESCRIPTION] =>
[DISPLAY_VALUE] => 12
)
[4] => Array
(
[ID] => 657
[IBLOCK_ID] => 32
[NAME] => Стиль
[ACTIVE] => Y
[SORT] => 6
[CODE] => PROP_STYLE
[DEFAULT_VALUE] =>
[PROPERTY_TYPE] => S
[ROW_COUNT] => 1
[COL_COUNT] => 30
[LIST_TYPE] => L
[MULTIPLE] => Y
[XML_ID] =>
[FILE_TYPE] =>
[MULTIPLE_CNT] => 5
[LINK_IBLOCK_ID] => 0
[WITH_DESCRIPTION] => N
[SEARCHABLE] => N
[FILTRABLE] => N
[IS_REQUIRED] => N
[VERSION] => 1
[USER_TYPE] =>
[USER_TYPE_SETTINGS] => Array
(
)
[HINT] =>
[~NAME] => Стиль
[~DEFAULT_VALUE] =>
[VALUE_ENUM] =>
[VALUE_XML_ID] =>
[VALUE_SORT] =>
[VALUE] => Array
(
[0] => техно
)
[PROPERTY_VALUE_ID] => Array
(
[0] => 22191338
)
[DESCRIPTION] => Array
(
[0] =>
)
[~VALUE] => Array
(
[0] => техно
)
[~DESCRIPTION] => Array
(
[0] =>
)
[DISPLAY_VALUE] => техно
)
)
)
[1] => Array
(
[GROUP] => Array
(
[ID] => 1
[XML_ID] =>
[CODE] => RAZMER
[NAME] => Размеры
[SORT] => 2
[ICON_PATH] =>
)
[PROPERTIES] => Array
(
[0] => Array
(
[ID] => 636
[IBLOCK_ID] => 32
[NAME] => Размеры, мм
[ACTIVE] => Y
[SORT] => 9
[CODE] => RAZMERY_MM
[DEFAULT_VALUE] =>
[PROPERTY_TYPE] => S
[ROW_COUNT] => 1
[COL_COUNT] => 30
[LIST_TYPE] => L
[MULTIPLE] => N
[XML_ID] =>
[FILE_TYPE] =>
[MULTIPLE_CNT] => 5
[LINK_IBLOCK_ID] => 0
[WITH_DESCRIPTION] => N
[SEARCHABLE] => N
[FILTRABLE] => N
[IS_REQUIRED] => N
[VERSION] => 1
[USER_TYPE] =>
[USER_TYPE_SETTINGS] => Array
(
)
[HINT] =>
[~NAME] => Размеры, мм
[~DEFAULT_VALUE] =>
[VALUE_ENUM] =>
[VALUE_XML_ID] =>
[VALUE_SORT] =>
[VALUE] => 50x870x1300
[PROPERTY_VALUE_ID] => 22191323
[DESCRIPTION] =>
[~VALUE] => 50x870x1300
[~DESCRIPTION] =>
[DISPLAY_VALUE] => 50x870x1300
)
[1] => Array
(
[ID] => 731
[IBLOCK_ID] => 32
[NAME] => Ширина, мм
[ACTIVE] => Y
[SORT] => 11
[CODE] => SHIRINA_MM
[DEFAULT_VALUE] =>
[PROPERTY_TYPE] => N
[ROW_COUNT] => 1
[COL_COUNT] => 30
[LIST_TYPE] => L
[MULTIPLE] => N
[XML_ID] =>
[FILE_TYPE] =>
[MULTIPLE_CNT] => 5
[LINK_IBLOCK_ID] => 0
[WITH_DESCRIPTION] => N
[SEARCHABLE] => N
[FILTRABLE] => N
[IS_REQUIRED] => N
[VERSION] => 1
[USER_TYPE] =>
[USER_TYPE_SETTINGS] => Array
(
)
[HINT] =>
[~NAME] => Ширина, мм
[~DEFAULT_VALUE] =>
[VALUE_ENUM] =>
[VALUE_XML_ID] =>
[VALUE_SORT] =>
[VALUE] => 50
[PROPERTY_VALUE_ID] => 22191306
[DESCRIPTION] =>
[~VALUE] => 50
[~DESCRIPTION] =>
[DISPLAY_VALUE] => 50
)
[2] => Array
(
[ID] => 732
[IBLOCK_ID] => 32
[NAME] => Высота, мм
[ACTIVE] => Y
[SORT] => 12
[CODE] => VYSOTA_MM
[DEFAULT_VALUE] =>
[PROPERTY_TYPE] => N
[ROW_COUNT] => 1
[COL_COUNT] => 30
[LIST_TYPE] => L
[MULTIPLE] => N
[XML_ID] =>
[FILE_TYPE] =>
[MULTIPLE_CNT] => 5
[LINK_IBLOCK_ID] => 0
[WITH_DESCRIPTION] => N
[SEARCHABLE] => N
[FILTRABLE] => N
[IS_REQUIRED] => N
[VERSION] => 1
[USER_TYPE] =>
[USER_TYPE_SETTINGS] => Array
(
)
[HINT] =>
[~NAME] => Высота, мм
[~DEFAULT_VALUE] =>
[VALUE_ENUM] =>
[VALUE_XML_ID] =>
[VALUE_SORT] =>
[VALUE] => 870
[PROPERTY_VALUE_ID] => 22191320
[DESCRIPTION] =>
[~VALUE] => 870
[~DESCRIPTION] =>
[DISPLAY_VALUE] => 870
)
[3] => Array
(
[ID] => 631
[IBLOCK_ID] => 32
[NAME] => Выступ, мм
[ACTIVE] => Y
[SORT] => 16
[CODE] => VYSTUP_MM
[DEFAULT_VALUE] =>
[PROPERTY_TYPE] => N
[ROW_COUNT] => 1
[COL_COUNT] => 30
[LIST_TYPE] => L
[MULTIPLE] => N
[XML_ID] =>
[FILE_TYPE] =>
[MULTIPLE_CNT] => 5
[LINK_IBLOCK_ID] => 0
[WITH_DESCRIPTION] => N
[SEARCHABLE] => N
[FILTRABLE] => N
[IS_REQUIRED] => N
[VERSION] => 1
[USER_TYPE] =>
[USER_TYPE_SETTINGS] => Array
(
)
[HINT] =>
[~NAME] => Выступ, мм
[~DEFAULT_VALUE] =>
[VALUE_ENUM] =>
[VALUE_XML_ID] =>
[VALUE_SORT] =>
[VALUE] => 1300
[PROPERTY_VALUE_ID] => 22191321
[DESCRIPTION] =>
[~VALUE] => 1300
[~DESCRIPTION] =>
[DISPLAY_VALUE] => 1300
)
)
)
[2] => Array
(
[GROUP] => Array
(
[ID] => 3
[XML_ID] =>
[CODE] => ELEKTRIKA
[NAME] => Электрика
[SORT] => 3
[ICON_PATH] =>
)
[PROPERTIES] => Array
(
[0] => Array
(
[ID] => 639
[IBLOCK_ID] => 32
[NAME] => Количество плафонов
[ACTIVE] => Y
[SORT] => 30
[CODE] => KOLICHESTVO_PLAFONOV
[DEFAULT_VALUE] =>
[PROPERTY_TYPE] => N
[ROW_COUNT] => 1
[COL_COUNT] => 30
[LIST_TYPE] => L
[MULTIPLE] => N
[XML_ID] =>
[FILE_TYPE] =>
[MULTIPLE_CNT] => 5
[LINK_IBLOCK_ID] => 0
[WITH_DESCRIPTION] => N
[SEARCHABLE] => N
[FILTRABLE] => N
[IS_REQUIRED] => N
[VERSION] => 1
[USER_TYPE] =>
[USER_TYPE_SETTINGS] => Array
(
)
[HINT] =>
[~NAME] => Количество плафонов
[~DEFAULT_VALUE] =>
[VALUE_ENUM] =>
[VALUE_XML_ID] =>
[VALUE_SORT] =>
[VALUE] => 1
[PROPERTY_VALUE_ID] => 22191324
[DESCRIPTION] =>
[~VALUE] => 1
[~DESCRIPTION] =>
[DISPLAY_VALUE] => 1
)
[1] => Array
(
[ID] => 652
[IBLOCK_ID] => 32
[NAME] => Класс электробезопасности
[ACTIVE] => Y
[SORT] => 500
[CODE] => KLASS_ELEKTROBEZOPASNOSTI
[DEFAULT_VALUE] =>
[PROPERTY_TYPE] => L
[ROW_COUNT] => 1
[COL_COUNT] => 30
[LIST_TYPE] => L
[MULTIPLE] => N
[XML_ID] =>
[FILE_TYPE] =>
[MULTIPLE_CNT] => 5
[LINK_IBLOCK_ID] => 0
[WITH_DESCRIPTION] => N
[SEARCHABLE] => N
[FILTRABLE] => N
[IS_REQUIRED] => N
[VERSION] => 1
[USER_TYPE] =>
[USER_TYPE_SETTINGS] => Array
(
)
[HINT] =>
[~NAME] => Класс электробезопасности
[~DEFAULT_VALUE] =>
[VALUE_ENUM] => II
[VALUE_XML_ID] => 5e8ec64aa599727f903c1c8e14a8fc72
[VALUE_SORT] => 500
[VALUE] => II
[PROPERTY_VALUE_ID] => 22191365
[VALUE_ENUM_ID] => 312
[DESCRIPTION] =>
[~VALUE] => II
[~DESCRIPTION] =>
[DISPLAY_VALUE] => II
)
[2] => Array
(
[ID] => 653
[IBLOCK_ID] => 32
[NAME] => Напряжение питания, В
[ACTIVE] => Y
[SORT] => 500
[CODE] => NAPRYAZHENIE_PITANIYA_V
[DEFAULT_VALUE] =>
[PROPERTY_TYPE] => N
[ROW_COUNT] => 1
[COL_COUNT] => 30
[LIST_TYPE] => L
[MULTIPLE] => N
[XML_ID] =>
[FILE_TYPE] =>
[MULTIPLE_CNT] => 5
[LINK_IBLOCK_ID] => 0
[WITH_DESCRIPTION] => N
[SEARCHABLE] => N
[FILTRABLE] => N
[IS_REQUIRED] => N
[VERSION] => 1
[USER_TYPE] =>
[USER_TYPE_SETTINGS] => Array
(
)
[HINT] =>
[~NAME] => Напряжение питания, В
[~DEFAULT_VALUE] =>
[VALUE_ENUM] =>
[VALUE_XML_ID] =>
[VALUE_SORT] =>
[VALUE] => 220
[PROPERTY_VALUE_ID] => 22191336
[DESCRIPTION] =>
[~VALUE] => 220
[~DESCRIPTION] =>
[DISPLAY_VALUE] => 220
)
[3] => Array
(
[ID] => 720
[IBLOCK_ID] => 32
[NAME] => Площадь освещения, м2
[ACTIVE] => Y
[SORT] => 500
[CODE] => PLOSHCHAD_OSVESHCHENIYA_M2
[DEFAULT_VALUE] =>
[PROPERTY_TYPE] => S
[ROW_COUNT] => 1
[COL_COUNT] => 30
[LIST_TYPE] => L
[MULTIPLE] => N
[XML_ID] =>
[FILE_TYPE] =>
[MULTIPLE_CNT] => 5
[LINK_IBLOCK_ID] => 0
[WITH_DESCRIPTION] => N
[SEARCHABLE] => N
[FILTRABLE] => N
[IS_REQUIRED] => N
[VERSION] => 1
[USER_TYPE] =>
[USER_TYPE_SETTINGS] => Array
(
)
[HINT] =>
[~NAME] => Площадь освещения, м2
[~DEFAULT_VALUE] =>
[VALUE_ENUM] =>
[VALUE_XML_ID] =>
[VALUE_SORT] =>
[VALUE] => 5
[PROPERTY_VALUE_ID] => 22191359
[DESCRIPTION] =>
[~VALUE] => 5
[~DESCRIPTION] =>
[DISPLAY_VALUE] => 5
)
)
)
[3] => Array
(
[GROUP] => Array
(
[ID] => 8
[XML_ID] =>
[CODE] => LAMPY
[NAME] => Лампы
[SORT] => 4
[ICON_PATH] =>
)
[PROPERTIES] => Array
(
[0] => Array
(
[ID] => 644
[IBLOCK_ID] => 32
[NAME] => Общее кол-во ламп
[ACTIVE] => Y
[SORT] => 20
[CODE] => OBSHCHEE_KOL_VO_LAMP
[DEFAULT_VALUE] =>
[PROPERTY_TYPE] => N
[ROW_COUNT] => 1
[COL_COUNT] => 30
[LIST_TYPE] => L
[MULTIPLE] => N
[XML_ID] =>
[FILE_TYPE] =>
[MULTIPLE_CNT] => 5
[LINK_IBLOCK_ID] => 0
[WITH_DESCRIPTION] => N
[SEARCHABLE] => N
[FILTRABLE] => N
[IS_REQUIRED] => N
[VERSION] => 1
[USER_TYPE] =>
[USER_TYPE_SETTINGS] => Array
(
)
[HINT] =>
[~NAME] => Общее кол-во ламп
[~DEFAULT_VALUE] =>
[VALUE_ENUM] =>
[VALUE_XML_ID] =>
[VALUE_SORT] =>
[VALUE] => 1
[PROPERTY_VALUE_ID] => 22191328
[DESCRIPTION] =>
[~VALUE] => 1
[~DESCRIPTION] =>
[DISPLAY_VALUE] => 1
)
[1] => Array
(
[ID] => 658
[IBLOCK_ID] => 32
[NAME] => Тип лампы
[ACTIVE] => Y
[SORT] => 21
[CODE] => TIP_LAMPY
[DEFAULT_VALUE] =>
[PROPERTY_TYPE] => S
[ROW_COUNT] => 1
[COL_COUNT] => 30
[LIST_TYPE] => L
[MULTIPLE] => Y
[XML_ID] =>
[FILE_TYPE] =>
[MULTIPLE_CNT] => 5
[LINK_IBLOCK_ID] => 0
[WITH_DESCRIPTION] => N
[SEARCHABLE] => N
[FILTRABLE] => N
[IS_REQUIRED] => N
[VERSION] => 1
[USER_TYPE] =>
[USER_TYPE_SETTINGS] => Array
(
)
[HINT] => Как правило указывается основной тип лампы, но при соответствии типу цоколя возможна установка и других типов ламп. Лампы бывают нескольких типов: накаливания, галогенные, светодиодные, люминесцентные, рефлекторные, металлогалогенные.
[~NAME] => Тип лампы
[~DEFAULT_VALUE] =>
[VALUE_ENUM] =>
[VALUE_XML_ID] =>
[VALUE_SORT] =>
[VALUE] => Array
(
[0] => светодиодная [LED]
)
[PROPERTY_VALUE_ID] => Array
(
[0] => 22191339
)
[DESCRIPTION] => Array
(
[0] =>
)
[~VALUE] => Array
(
[0] => светодиодная [LED]
)
[~DESCRIPTION] => Array
(
[0] =>
)
[DISPLAY_VALUE] => светодиодная [LED]
)
[2] => Array
(
[ID] => 661
[IBLOCK_ID] => 32
[NAME] => Максимальная мощность лампы, Вт
[ACTIVE] => Y
[SORT] => 21
[CODE] => MAKSIMALNAYA_MOSHCHNOST_LAMPY_VT
[DEFAULT_VALUE] =>
[PROPERTY_TYPE] => N
[ROW_COUNT] => 1
[COL_COUNT] => 30
[LIST_TYPE] => L
[MULTIPLE] => N
[XML_ID] =>
[FILE_TYPE] =>
[MULTIPLE_CNT] => 5
[LINK_IBLOCK_ID] => 0
[WITH_DESCRIPTION] => N
[SEARCHABLE] => N
[FILTRABLE] => N
[IS_REQUIRED] => N
[VERSION] => 1
[USER_TYPE] =>
[USER_TYPE_SETTINGS] => Array
(
)
[HINT] =>
[~NAME] => Максимальная мощность лампы, Вт
[~DEFAULT_VALUE] =>
[VALUE_ENUM] =>
[VALUE_XML_ID] =>
[VALUE_SORT] =>
[VALUE] => 10
[PROPERTY_VALUE_ID] => 22191341
[DESCRIPTION] =>
[~VALUE] => 10
[~DESCRIPTION] =>
[DISPLAY_VALUE] => 10
)
[3] => Array
(
[ID] => 713
[IBLOCK_ID] => 32
[NAME] => Тип лампы основной
[ACTIVE] => Y
[SORT] => 23
[CODE] => LAMP_TYPE_MAIN
[DEFAULT_VALUE] =>
[PROPERTY_TYPE] => S
[ROW_COUNT] => 1
[COL_COUNT] => 30
[LIST_TYPE] => L
[MULTIPLE] => Y
[XML_ID] =>
[FILE_TYPE] =>
[MULTIPLE_CNT] => 5
[LINK_IBLOCK_ID] => 0
[WITH_DESCRIPTION] => N
[SEARCHABLE] => N
[FILTRABLE] => N
[IS_REQUIRED] => N
[VERSION] => 1
[USER_TYPE] =>
[USER_TYPE_SETTINGS] => Array
(
)
[HINT] =>
[~NAME] => Тип лампы основной
[~DEFAULT_VALUE] =>
[VALUE_ENUM] =>
[VALUE_XML_ID] =>
[VALUE_SORT] =>
[VALUE] => Array
(
[0] => светодиодная [LED]
)
[PROPERTY_VALUE_ID] => Array
(
[0] => 22191355
)
[DESCRIPTION] => Array
(
[0] =>
)
[~VALUE] => Array
(
[0] => светодиодная [LED]
)
[~DESCRIPTION] => Array
(
[0] =>
)
[DISPLAY_VALUE] => светодиодная [LED]
)
[4] => Array
(
[ID] => 660
[IBLOCK_ID] => 32
[NAME] => Напряжение питания лампы, В
[ACTIVE] => Y
[SORT] => 28
[CODE] => NAPRYAZHENIE_PITANIYA_LAMPY_V
[DEFAULT_VALUE] =>
[PROPERTY_TYPE] => N
[ROW_COUNT] => 1
[COL_COUNT] => 30
[LIST_TYPE] => L
[MULTIPLE] => N
[XML_ID] =>
[FILE_TYPE] =>
[MULTIPLE_CNT] => 5
[LINK_IBLOCK_ID] => 0
[WITH_DESCRIPTION] => N
[SEARCHABLE] => N
[FILTRABLE] => N
[IS_REQUIRED] => N
[VERSION] => 1
[USER_TYPE] =>
[USER_TYPE_SETTINGS] => Array
(
)
[HINT] =>
[~NAME] => Напряжение питания лампы, В
[~DEFAULT_VALUE] =>
[VALUE_ENUM] =>
[VALUE_XML_ID] =>
[VALUE_SORT] =>
[VALUE] => 20
[PROPERTY_VALUE_ID] => 22191340
[DESCRIPTION] =>
[~VALUE] => 20
[~DESCRIPTION] =>
[DISPLAY_VALUE] => 20
)
[5] => Array
(
[ID] => 662
[IBLOCK_ID] => 32
[NAME] => Цветовая температура, K
[ACTIVE] => Y
[SORT] => 500
[CODE] => TSVETOVAYA_TEMPERATURA_K
[DEFAULT_VALUE] =>
[PROPERTY_TYPE] => S
[ROW_COUNT] => 1
[COL_COUNT] => 30
[LIST_TYPE] => L
[MULTIPLE] => Y
[XML_ID] =>
[FILE_TYPE] =>
[MULTIPLE_CNT] => 5
[LINK_IBLOCK_ID] => 0
[WITH_DESCRIPTION] => N
[SEARCHABLE] => N
[FILTRABLE] => N
[IS_REQUIRED] => N
[VERSION] => 1
[USER_TYPE] =>
[USER_TYPE_SETTINGS] => Array
(
)
[HINT] => Измеряется в Кельвинах. До 3000K – теплое свечение, 3200 – 4000 – белое свечение, выше – холодное.
[~NAME] => Цветовая температура, K
[~DEFAULT_VALUE] =>
[VALUE_ENUM] =>
[VALUE_XML_ID] =>
[VALUE_SORT] =>
[VALUE] => Array
(
[0] => 4000
)
[PROPERTY_VALUE_ID] => Array
(
[0] => 22191342
)
[DESCRIPTION] => Array
(
[0] =>
)
[~VALUE] => Array
(
[0] => 4000
)
[~DESCRIPTION] => Array
(
[0] =>
)
[DISPLAY_VALUE] => 4000
)
[6] => Array
(
[ID] => 727
[IBLOCK_ID] => 32
[NAME] => Световой поток, лм
[ACTIVE] => Y
[SORT] => 500
[CODE] => SVETOVOY_POTOK_LM
[DEFAULT_VALUE] =>
[PROPERTY_TYPE] => N
[ROW_COUNT] => 1
[COL_COUNT] => 30
[LIST_TYPE] => L
[MULTIPLE] => N
[XML_ID] =>
[FILE_TYPE] =>
[MULTIPLE_CNT] => 5
[LINK_IBLOCK_ID] => 0
[WITH_DESCRIPTION] => N
[SEARCHABLE] => N
[FILTRABLE] => N
[IS_REQUIRED] => N
[VERSION] => 1
[USER_TYPE] =>
[USER_TYPE_SETTINGS] => Array
(
)
[HINT] =>
[~NAME] => Световой поток, лм
[~DEFAULT_VALUE] =>
[VALUE_ENUM] =>
[VALUE_XML_ID] =>
[VALUE_SORT] =>
[VALUE] => 750
[PROPERTY_VALUE_ID] => 22191361
[DESCRIPTION] =>
[~VALUE] => 750
[~DESCRIPTION] =>
[DISPLAY_VALUE] => 750
)
[7] => Array
(
[ID] => 728
[IBLOCK_ID] => 32
[NAME] => Светоотдача, лм/Вт
[ACTIVE] => Y
[SORT] => 500
[CODE] => SVETOOTDACHA_LM_VT
[DEFAULT_VALUE] =>
[PROPERTY_TYPE] => S
[ROW_COUNT] => 1
[COL_COUNT] => 30
[LIST_TYPE] => L
[MULTIPLE] => N
[XML_ID] =>
[FILE_TYPE] =>
[MULTIPLE_CNT] => 5
[LINK_IBLOCK_ID] => 0
[WITH_DESCRIPTION] => N
[SEARCHABLE] => N
[FILTRABLE] => N
[IS_REQUIRED] => N
[VERSION] => 1
[USER_TYPE] =>
[USER_TYPE_SETTINGS] => Array
(
)
[HINT] =>
[~NAME] => Светоотдача, лм/Вт
[~DEFAULT_VALUE] =>
[VALUE_ENUM] =>
[VALUE_XML_ID] =>
[VALUE_SORT] =>
[VALUE] => 75
[PROPERTY_VALUE_ID] => 22191362
[DESCRIPTION] =>
[~VALUE] => 75
[~DESCRIPTION] =>
[DISPLAY_VALUE] => 75
)
)
)
[4] => Array
(
[GROUP] => Array
(
[ID] => 6
[XML_ID] =>
[CODE] => KOMPLEKTATSIYA
[NAME] => Комплектация
[SORT] => 5
[ICON_PATH] =>
)
[PROPERTIES] => Array
(
[0] => Array
(
[ID] => 640
[IBLOCK_ID] => 32
[NAME] => Наличие выключателя, диммера или пульта ДУ
[ACTIVE] => Y
[SORT] => 500
[CODE] => NALICHIE_VYKLYUCHATELYA_DIMMERA_ILI_PULTA_DU
[DEFAULT_VALUE] =>
[PROPERTY_TYPE] => S
[ROW_COUNT] => 1
[COL_COUNT] => 30
[LIST_TYPE] => L
[MULTIPLE] => Y
[XML_ID] =>
[FILE_TYPE] =>
[MULTIPLE_CNT] => 5
[LINK_IBLOCK_ID] => 0
[WITH_DESCRIPTION] => N
[SEARCHABLE] => Y
[FILTRABLE] => N
[IS_REQUIRED] => N
[VERSION] => 1
[USER_TYPE] =>
[USER_TYPE_SETTINGS] => Array
(
)
[HINT] =>
[~NAME] => Наличие выключателя, диммера или пульта ДУ
[~DEFAULT_VALUE] =>
[VALUE_ENUM] =>
[VALUE_XML_ID] =>
[VALUE_SORT] =>
[VALUE] => Array
(
[0] => выключатель на проводе
)
[PROPERTY_VALUE_ID] => Array
(
[0] => 22191326
)
[DESCRIPTION] => Array
(
[0] =>
)
[~VALUE] => Array
(
[0] => выключатель на проводе
)
[~DESCRIPTION] => Array
(
[0] =>
)
[DISPLAY_VALUE] => выключатель на проводе
)
[1] => Array
(
[ID] => 643
[IBLOCK_ID] => 32
[NAME] => Компоненты, входящие в комплект
[ACTIVE] => Y
[SORT] => 500
[CODE] => KOMPONENTY_VKHODYASHCHIE_V_KOMPLEKT
[DEFAULT_VALUE] =>
[PROPERTY_TYPE] => S
[ROW_COUNT] => 1
[COL_COUNT] => 30
[LIST_TYPE] => L
[MULTIPLE] => N
[XML_ID] =>
[FILE_TYPE] =>
[MULTIPLE_CNT] => 5
[LINK_IBLOCK_ID] => 0
[WITH_DESCRIPTION] => N
[SEARCHABLE] => N
[FILTRABLE] => N
[IS_REQUIRED] => N
[VERSION] => 1
[USER_TYPE] =>
[USER_TYPE_SETTINGS] => Array
(
)
[HINT] =>
[~NAME] => Компоненты, входящие в комплект
[~DEFAULT_VALUE] =>
[VALUE_ENUM] =>
[VALUE_XML_ID] =>
[VALUE_SORT] =>
[VALUE] => провод электропитания с вилкой без заземления, блок питания 20В
[PROPERTY_VALUE_ID] => 22191327
[DESCRIPTION] =>
[~VALUE] => провод электропитания с вилкой без заземления, блок питания 20В
[~DESCRIPTION] =>
[DISPLAY_VALUE] => провод электропитания с вилкой без заземления, блок питания 20В
)
[2] => Array
(
[ID] => 645
[IBLOCK_ID] => 32
[NAME] => Лампы в комплекте
[ACTIVE] => Y
[SORT] => 500
[CODE] => LAMPY_V_KOMPLEKTE
[DEFAULT_VALUE] =>
[PROPERTY_TYPE] => S
[ROW_COUNT] => 1
[COL_COUNT] => 30
[LIST_TYPE] => L
[MULTIPLE] => N
[XML_ID] =>
[FILE_TYPE] =>
[MULTIPLE_CNT] => 5
[LINK_IBLOCK_ID] => 0
[WITH_DESCRIPTION] => N
[SEARCHABLE] => Y
[FILTRABLE] => N
[IS_REQUIRED] => N
[VERSION] => 1
[USER_TYPE] =>
[USER_TYPE_SETTINGS] => Array
(
)
[HINT] =>
[~NAME] => Лампы в комплекте
[~DEFAULT_VALUE] =>
[VALUE_ENUM] =>
[VALUE_XML_ID] =>
[VALUE_SORT] =>
[VALUE] => светодиодная [LED]
[PROPERTY_VALUE_ID] => 22191329
[DESCRIPTION] =>
[~VALUE] => светодиодная [LED]
[~DESCRIPTION] =>
[DISPLAY_VALUE] => светодиодная [LED]
)
)
)
[5] => Array
(
[GROUP] => Array
(
[ID] => 4
[XML_ID] =>
[CODE] => VNESHNIY_VID
[NAME] => Внешний вид
[SORT] => 6
[ICON_PATH] =>
)
[PROPERTIES] => Array
(
[0] => Array
(
[ID] => 664
[IBLOCK_ID] => 32
[NAME] => Форма плафонов
[ACTIVE] => Y
[SORT] => 49
[CODE] => FORMA_PLAFONOV
[DEFAULT_VALUE] =>
[PROPERTY_TYPE] => S
[ROW_COUNT] => 1
[COL_COUNT] => 30
[LIST_TYPE] => L
[MULTIPLE] => Y
[XML_ID] =>
[FILE_TYPE] =>
[MULTIPLE_CNT] => 5
[LINK_IBLOCK_ID] => 0
[WITH_DESCRIPTION] => N
[SEARCHABLE] => N
[FILTRABLE] => N
[IS_REQUIRED] => N
[VERSION] => 1
[USER_TYPE] =>
[USER_TYPE_SETTINGS] => Array
(
)
[HINT] =>
[~NAME] => Форма плафонов
[~DEFAULT_VALUE] =>
[VALUE_ENUM] =>
[VALUE_XML_ID] =>
[VALUE_SORT] =>
[VALUE] => Array
(
[0] => прямоугольник плоский
)
[PROPERTY_VALUE_ID] => Array
(
[0] => 22191343
)
[DESCRIPTION] => Array
(
[0] =>
)
[~VALUE] => Array
(
[0] => прямоугольник плоский
)
[~DESCRIPTION] => Array
(
[0] =>
)
[DISPLAY_VALUE] => прямоугольник плоский
)
[1] => Array
(
[ID] => 646
[IBLOCK_ID] => 32
[NAME] => Цвет плафонов и подвесок
[ACTIVE] => Y
[SORT] => 50
[CODE] => TSVET_PLAFONOV_I_PODVESOK
[DEFAULT_VALUE] =>
[PROPERTY_TYPE] => S
[ROW_COUNT] => 1
[COL_COUNT] => 30
[LIST_TYPE] => L
[MULTIPLE] => Y
[XML_ID] =>
[FILE_TYPE] =>
[MULTIPLE_CNT] => 5
[LINK_IBLOCK_ID] => 0
[WITH_DESCRIPTION] => N
[SEARCHABLE] => Y
[FILTRABLE] => N
[IS_REQUIRED] => N
[VERSION] => 1
[USER_TYPE] =>
[USER_TYPE_SETTINGS] =>
[HINT] =>
[~NAME] => Цвет плафонов и подвесок
[~DEFAULT_VALUE] =>
[VALUE_ENUM] =>
[VALUE_XML_ID] =>
[VALUE_SORT] =>
[VALUE] => Array
(
[0] => белый
)
[PROPERTY_VALUE_ID] => Array
(
[0] => 22191330
)
[DESCRIPTION] => Array
(
[0] =>
)
[~VALUE] => Array
(
[0] => белый
)
[~DESCRIPTION] => Array
(
[0] =>
)
[DISPLAY_VALUE] => белый
)
[2] => Array
(
[ID] => 647
[IBLOCK_ID] => 32
[NAME] => Цвет арматуры
[ACTIVE] => Y
[SORT] => 51
[CODE] => TSVET_ARMATURY
[DEFAULT_VALUE] =>
[PROPERTY_TYPE] => S
[ROW_COUNT] => 1
[COL_COUNT] => 30
[LIST_TYPE] => L
[MULTIPLE] => Y
[XML_ID] =>
[FILE_TYPE] =>
[MULTIPLE_CNT] => 10
[LINK_IBLOCK_ID] => 0
[WITH_DESCRIPTION] => N
[SEARCHABLE] => N
[FILTRABLE] => N
[IS_REQUIRED] => N
[VERSION] => 1
[USER_TYPE] =>
[USER_TYPE_SETTINGS] => Array
(
)
[HINT] =>
[~NAME] => Цвет арматуры
[~DEFAULT_VALUE] =>
[VALUE_ENUM] =>
[VALUE_XML_ID] =>
[VALUE_SORT] =>
[VALUE] => Array
(
[0] => бронза
)
[PROPERTY_VALUE_ID] => Array
(
[0] => 22191331
)
[DESCRIPTION] => Array
(
[0] =>
)
[~VALUE] => Array
(
[0] => бронза
)
[~DESCRIPTION] => Array
(
[0] =>
)
[DISPLAY_VALUE] => бронза
)
[3] => Array
(
[ID] => 650
[IBLOCK_ID] => 32
[NAME] => Материал плафонов и подвесок
[ACTIVE] => Y
[SORT] => 55
[CODE] => MATERIAL_PLAFONOV_I_PODVESOK
[DEFAULT_VALUE] =>
[PROPERTY_TYPE] => S
[ROW_COUNT] => 1
[COL_COUNT] => 30
[LIST_TYPE] => L
[MULTIPLE] => Y
[XML_ID] =>
[FILE_TYPE] =>
[MULTIPLE_CNT] => 5
[LINK_IBLOCK_ID] => 0
[WITH_DESCRIPTION] => N
[SEARCHABLE] => N
[FILTRABLE] => N
[IS_REQUIRED] => N
[VERSION] => 1
[USER_TYPE] =>
[USER_TYPE_SETTINGS] => Array
(
)
[HINT] =>
[~NAME] => Материал плафонов и подвесок
[~DEFAULT_VALUE] =>
[VALUE_ENUM] =>
[VALUE_XML_ID] =>
[VALUE_SORT] =>
[VALUE] => Array
(
[0] => акрил
)
[PROPERTY_VALUE_ID] => Array
(
[0] => 22191334
)
[DESCRIPTION] => Array
(
[0] =>
)
[~VALUE] => Array
(
[0] => акрил
)
[~DESCRIPTION] => Array
(
[0] =>
)
[DISPLAY_VALUE] => акрил
)
[4] => Array
(
[ID] => 651
[IBLOCK_ID] => 32
[NAME] => Материал арматуры
[ACTIVE] => Y
[SORT] => 56
[CODE] => MATERIAL_ARMATURY
[DEFAULT_VALUE] =>
[PROPERTY_TYPE] => S
[ROW_COUNT] => 1
[COL_COUNT] => 30
[LIST_TYPE] => L
[MULTIPLE] => Y
[XML_ID] =>
[FILE_TYPE] =>
[MULTIPLE_CNT] => 5
[LINK_IBLOCK_ID] => 0
[WITH_DESCRIPTION] => N
[SEARCHABLE] => N
[FILTRABLE] => N
[IS_REQUIRED] => N
[VERSION] => 1
[USER_TYPE] =>
[USER_TYPE_SETTINGS] => Array
(
)
[HINT] =>
[~NAME] => Материал арматуры
[~DEFAULT_VALUE] =>
[VALUE_ENUM] =>
[VALUE_XML_ID] =>
[VALUE_SORT] =>
[VALUE] => Array
(
[0] => дюралюминий
)
[PROPERTY_VALUE_ID] => Array
(
[0] => 22191335
)
[DESCRIPTION] => Array
(
[0] =>
)
[~VALUE] => Array
(
[0] => дюралюминий
)
[~DESCRIPTION] => Array
(
[0] =>
)
[DISPLAY_VALUE] => дюралюминий
)
[5] => Array
(
[ID] => 648
[IBLOCK_ID] => 32
[NAME] => Поверхность плафонов и подвесок
[ACTIVE] => Y
[SORT] => 500
[CODE] => POVERKHNOST_PLAFONOV_I_PODVESOK
[DEFAULT_VALUE] =>
[PROPERTY_TYPE] => S
[ROW_COUNT] => 1
[COL_COUNT] => 30
[LIST_TYPE] => L
[MULTIPLE] => Y
[XML_ID] =>
[FILE_TYPE] =>
[MULTIPLE_CNT] => 5
[LINK_IBLOCK_ID] => 0
[WITH_DESCRIPTION] => N
[SEARCHABLE] => N
[FILTRABLE] => N
[IS_REQUIRED] => N
[VERSION] => 1
[USER_TYPE] =>
[USER_TYPE_SETTINGS] => Array
(
)
[HINT] =>
[~NAME] => Поверхность плафонов и подвесок
[~DEFAULT_VALUE] =>
[VALUE_ENUM] =>
[VALUE_XML_ID] =>
[VALUE_SORT] =>
[VALUE] => Array
(
[0] => матовый
)
[PROPERTY_VALUE_ID] => Array
(
[0] => 22191332
)
[DESCRIPTION] => Array
(
[0] =>
)
[~VALUE] => Array
(
[0] => матовый
)
[~DESCRIPTION] => Array
(
[0] =>
)
[DISPLAY_VALUE] => матовый
)
[6] => Array
(
[ID] => 649
[IBLOCK_ID] => 32
[NAME] => Поверхность арматуры
[ACTIVE] => Y
[SORT] => 500
[CODE] => POVERKHNOST_ARMATURY
[DEFAULT_VALUE] =>
[PROPERTY_TYPE] => S
[ROW_COUNT] => 1
[COL_COUNT] => 30
[LIST_TYPE] => L
[MULTIPLE] => Y
[XML_ID] =>
[FILE_TYPE] =>
[MULTIPLE_CNT] => 5
[LINK_IBLOCK_ID] => 0
[WITH_DESCRIPTION] => N
[SEARCHABLE] => N
[FILTRABLE] => N
[IS_REQUIRED] => N
[VERSION] => 1
[USER_TYPE] =>
[USER_TYPE_SETTINGS] => Array
(
)
[HINT] =>
[~NAME] => Поверхность арматуры
[~DEFAULT_VALUE] =>
[VALUE_ENUM] =>
[VALUE_XML_ID] =>
[VALUE_SORT] =>
[VALUE] => Array
(
[0] => глянцевый
)
[PROPERTY_VALUE_ID] => Array
(
[0] => 22191333
)
[DESCRIPTION] => Array
(
[0] =>
)
[~VALUE] => Array
(
[0] => глянцевый
)
[~DESCRIPTION] => Array
(
[0] =>
)
[DISPLAY_VALUE] => глянцевый
)
[7] => Array
(
[ID] => 687
[IBLOCK_ID] => 32
[NAME] => Основной цвет
[ACTIVE] => Y
[SORT] => 500
[CODE] => OSNOVNOY_TSVET
[DEFAULT_VALUE] =>
[PROPERTY_TYPE] => S
[ROW_COUNT] => 1
[COL_COUNT] => 30
[LIST_TYPE] => L
[MULTIPLE] => Y
[XML_ID] =>
[FILE_TYPE] =>
[MULTIPLE_CNT] => 5
[LINK_IBLOCK_ID] => 0
[WITH_DESCRIPTION] => N
[SEARCHABLE] => N
[FILTRABLE] => N
[IS_REQUIRED] => N
[VERSION] => 1
[USER_TYPE] =>
[USER_TYPE_SETTINGS] => Array
(
)
[HINT] =>
[~NAME] => Основной цвет
[~DEFAULT_VALUE] =>
[VALUE_ENUM] =>
[VALUE_XML_ID] =>
[VALUE_SORT] =>
[VALUE] => Array
(
[0] => разноцветная
)
[PROPERTY_VALUE_ID] => Array
(
[0] => 22191346
)
[DESCRIPTION] => Array
(
[0] =>
)
[~VALUE] => Array
(
[0] => разноцветная
)
[~DESCRIPTION] => Array
(
[0] =>
)
[DISPLAY_VALUE] => разноцветная
)
)
)
[6] => Array
(
[GROUP] => Array
(
[ID] => 5
[XML_ID] =>
[CODE] => DOPOLNITELNAYA_INFORMATSIYA
[NAME] => Дополнительная информация
[SORT] => 7
[ICON_PATH] =>
)
[PROPERTIES] => Array
(
[0] => Array
(
[ID] => 655
[IBLOCK_ID] => 32
[NAME] => Степень пылевлагозащиты, IP
[ACTIVE] => Y
[SORT] => 500
[CODE] => STEPEN_PYLEVLAGOZASHCHITY_IP
[DEFAULT_VALUE] =>
[PROPERTY_TYPE] => S
[ROW_COUNT] => 1
[COL_COUNT] => 30
[LIST_TYPE] => L
[MULTIPLE] => N
[XML_ID] =>
[FILE_TYPE] =>
[MULTIPLE_CNT] => 5
[LINK_IBLOCK_ID] => 0
[WITH_DESCRIPTION] => N
[SEARCHABLE] => N
[FILTRABLE] => N
[IS_REQUIRED] => N
[VERSION] => 1
[USER_TYPE] =>
[USER_TYPE_SETTINGS] => Array
(
)
[HINT] =>
[~NAME] => Степень пылевлагозащиты, IP
[~DEFAULT_VALUE] =>
[VALUE_ENUM] =>
[VALUE_XML_ID] =>
[VALUE_SORT] =>
[VALUE] => 20
[PROPERTY_VALUE_ID] => 22191337
[DESCRIPTION] =>
[~VALUE] => 20
[~DESCRIPTION] =>
[DISPLAY_VALUE] => 20
)
[1] => Array
(
[ID] => 666
[IBLOCK_ID] => 32
[NAME] => Диапазон рабочих температур
[ACTIVE] => Y
[SORT] => 500
[CODE] => DIAPAZON_RABOCHIKH_TEMPERATUR
[DEFAULT_VALUE] =>
[PROPERTY_TYPE] => S
[ROW_COUNT] => 1
[COL_COUNT] => 30
[LIST_TYPE] => L
[MULTIPLE] => N
[XML_ID] =>
[FILE_TYPE] =>
[MULTIPLE_CNT] => 5
[LINK_IBLOCK_ID] => 0
[WITH_DESCRIPTION] => N
[SEARCHABLE] => N
[FILTRABLE] => N
[IS_REQUIRED] => N
[VERSION] => 1
[USER_TYPE] =>
[USER_TYPE_SETTINGS] => Array
(
)
[HINT] =>
[~NAME] => Диапазон рабочих температур
[~DEFAULT_VALUE] =>
[VALUE_ENUM] =>
[VALUE_XML_ID] =>
[VALUE_SORT] =>
[VALUE] => +1-[+35]
[PROPERTY_VALUE_ID] => 22191344
[DESCRIPTION] =>
[~VALUE] => +1-[+35]
[~DESCRIPTION] =>
[DISPLAY_VALUE] => +1-[+35]
)
[2] => Array
(
[ID] => 709
[IBLOCK_ID] => 32
[NAME] => Дополнительные параметры
[ACTIVE] => Y
[SORT] => 500
[CODE] => DOPOLNITELNYE_PARAMETRY
[DEFAULT_VALUE] =>
[PROPERTY_TYPE] => S
[ROW_COUNT] => 1
[COL_COUNT] => 30
[LIST_TYPE] => L
[MULTIPLE] => N
[XML_ID] =>
[FILE_TYPE] =>
[MULTIPLE_CNT] => 5
[LINK_IBLOCK_ID] => 0
[WITH_DESCRIPTION] => N
[SEARCHABLE] => N
[FILTRABLE] => N
[IS_REQUIRED] => N
[VERSION] => 1
[USER_TYPE] =>
[USER_TYPE_SETTINGS] => Array
(
)
[HINT] =>
[~NAME] => Дополнительные параметры
[~DEFAULT_VALUE] =>
[VALUE_ENUM] =>
[VALUE_XML_ID] =>
[VALUE_SORT] =>
[VALUE] => поворотный светильник, провод электропитания с вилкой без заземления
[PROPERTY_VALUE_ID] => 22191347
[DESCRIPTION] =>
[~VALUE] => поворотный светильник, провод электропитания с вилкой без заземления
[~DESCRIPTION] =>
[DISPLAY_VALUE] => поворотный светильник, провод электропитания с вилкой без заземления
)
[3] => Array
(
[ID] => 710
[IBLOCK_ID] => 32
[NAME] => Место размещения
[ACTIVE] => Y
[SORT] => 500
[CODE] => MESTO_RAZMESHCHENIYA
[DEFAULT_VALUE] =>
[PROPERTY_TYPE] => S
[ROW_COUNT] => 1
[COL_COUNT] => 30
[LIST_TYPE] => L
[MULTIPLE] => Y
[XML_ID] =>
[FILE_TYPE] =>
[MULTIPLE_CNT] => 5
[LINK_IBLOCK_ID] => 0
[WITH_DESCRIPTION] => N
[SEARCHABLE] => Y
[FILTRABLE] => N
[IS_REQUIRED] => N
[VERSION] => 1
[USER_TYPE] =>
[USER_TYPE_SETTINGS] => Array
(
)
[HINT] =>
[~NAME] => Место размещения
[~DEFAULT_VALUE] =>
[VALUE_ENUM] =>
[VALUE_XML_ID] =>
[VALUE_SORT] =>
[VALUE] => Array
(
[0] => Стол
)
[PROPERTY_VALUE_ID] => Array
(
[0] => 22191348
)
[DESCRIPTION] => Array
(
[0] =>
)
[~VALUE] => Array
(
[0] => Стол
)
[~DESCRIPTION] => Array
(
[0] =>
)
[DISPLAY_VALUE] => Стол
)
[4] => Array
(
[ID] => 711
[IBLOCK_ID] => 32
[NAME] => Помещение
[ACTIVE] => Y
[SORT] => 500
[CODE] => PLACE
[DEFAULT_VALUE] =>
[PROPERTY_TYPE] => S
[ROW_COUNT] => 1
[COL_COUNT] => 30
[LIST_TYPE] => L
[MULTIPLE] => Y
[XML_ID] =>
[FILE_TYPE] =>
[MULTIPLE_CNT] => 5
[LINK_IBLOCK_ID] => 0
[WITH_DESCRIPTION] => N
[SEARCHABLE] => N
[FILTRABLE] => N
[IS_REQUIRED] => N
[VERSION] => 1
[USER_TYPE] =>
[USER_TYPE_SETTINGS] => Array
(
)
[HINT] =>
[~NAME] => Помещение
[~DEFAULT_VALUE] =>
[VALUE_ENUM] =>
[VALUE_XML_ID] =>
[VALUE_SORT] =>
[VALUE] => Array
(
[0] => Кабинет
[1] => Офис
)
[PROPERTY_VALUE_ID] => Array
(
[0] => 22191349
[1] => 22191350
)
[DESCRIPTION] => Array
(
[0] =>
[1] =>
)
[~VALUE] => Array
(
[0] => Кабинет
[1] => Офис
)
[~DESCRIPTION] => Array
(
[0] =>
[1] =>
)
[DISPLAY_VALUE] => Array
(
[0] => Кабинет
[1] => Офис
)
)
)
)
[7] => Array
(
[GROUP] => Array
(
[ID] => 10
[XML_ID] =>
[CODE] => PRIMECHANIE
[NAME] => Примечание
[SORT] => 8
[ICON_PATH] =>
)
)
[8] => Array
(
[GROUP] => Array
(
[ID] => 9
[XML_ID] =>
[CODE] => UPAKOVKA
[NAME] => Упаковка
[SORT] => 500
[ICON_PATH] =>
)
[PROPERTIES] => Array
(
[0] => Array
(
[ID] => 678
[IBLOCK_ID] => 32
[NAME] => Объем упаковки, куб. м
[ACTIVE] => Y
[SORT] => 500
[CODE] => OBEM_UPAKOVKI_KUB_M
[DEFAULT_VALUE] =>
[PROPERTY_TYPE] => S
[ROW_COUNT] => 1
[COL_COUNT] => 30
[LIST_TYPE] => L
[MULTIPLE] => N
[XML_ID] =>
[FILE_TYPE] =>
[MULTIPLE_CNT] => 5
[LINK_IBLOCK_ID] => 0
[WITH_DESCRIPTION] => N
[SEARCHABLE] => N
[FILTRABLE] => N
[IS_REQUIRED] => N
[VERSION] => 1
[USER_TYPE] =>
[USER_TYPE_SETTINGS] => Array
(
)
[HINT] =>
[~NAME] => Объем упаковки, куб. м
[~DEFAULT_VALUE] =>
[VALUE_ENUM] =>
[VALUE_XML_ID] =>
[VALUE_SORT] =>
[VALUE] => 0.0036
[PROPERTY_VALUE_ID] => 22191345
[DESCRIPTION] =>
[~VALUE] => 0.0036
[~DESCRIPTION] =>
[DISPLAY_VALUE] => 0.0036
)
[1] => Array
(
[ID] => 635
[IBLOCK_ID] => 32
[NAME] => Размер упаковки, мм
[ACTIVE] => Y
[SORT] => 599
[CODE] => RAZMER_UPAKOVKI_MM
[DEFAULT_VALUE] =>
[PROPERTY_TYPE] => S
[ROW_COUNT] => 1
[COL_COUNT] => 30
[LIST_TYPE] => L
[MULTIPLE] => N
[XML_ID] =>
[FILE_TYPE] =>
[MULTIPLE_CNT] => 5
[LINK_IBLOCK_ID] => 0
[WITH_DESCRIPTION] => N
[SEARCHABLE] => N
[FILTRABLE] => N
[IS_REQUIRED] => N
[VERSION] => 1
[USER_TYPE] =>
[USER_TYPE_SETTINGS] => Array
(
)
[HINT] =>
[~NAME] => Размер упаковки, мм
[~DEFAULT_VALUE] =>
[VALUE_ENUM] =>
[VALUE_XML_ID] =>
[VALUE_SORT] =>
[VALUE] => 605x100x60
[PROPERTY_VALUE_ID] => 22191322
[DESCRIPTION] =>
[~VALUE] => 605x100x60
[~DESCRIPTION] =>
[DISPLAY_VALUE] => 605x100x60
)
)
)
)
Основные параметры
- Артикул GB_58232
- Серия Estelar
- Страна производителя Австрия
- Гарантия, месяцы 12
- Стиль техно
Размеры
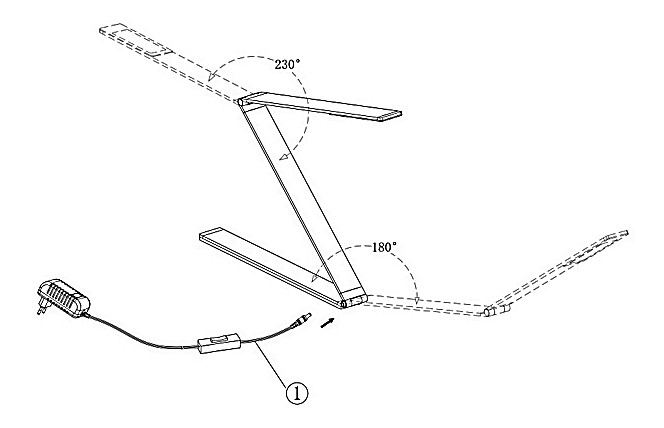
- Размеры, мм 50x870x1300
- Ширина, мм 50
- Высота, мм 870
- Выступ, мм 1300
Электрика
- Количество плафонов 1
- Класс электробезопасности II
- Напряжение питания, В 220
- Площадь освещения, м2 5
Лампы
- Общее кол-во ламп 1
- Тип лампы светодиодная [LED]
- Максимальная мощность лампы, Вт 10
- Тип лампы основной светодиодная [LED]
- Напряжение питания лампы, В 20
- Цветовая температура, K 4000
- Световой поток, лм 750
- Светоотдача, лм/Вт 75
Комплектация
- Наличие выключателя, диммера или пульта ДУ выключатель на проводе
- Компоненты, входящие в комплект провод электропитания с вилкой без заземления, блок питания 20В
- Лампы в комплекте светодиодная [LED]
Внешний вид
- Форма плафонов прямоугольник плоский
- Цвет плафонов и подвесок белый
- Цвет арматуры бронза
- Материал плафонов и подвесок акрил
- Материал арматуры дюралюминий
- Поверхность плафонов и подвесок матовый
- Поверхность арматуры глянцевый
- Основной цвет разноцветная
Дополнительная информация
- Степень пылевлагозащиты, IP 20
- Диапазон рабочих температур +1-[+35]
- Дополнительные параметры поворотный светильник, провод электропитания с вилкой без заземления
- Место размещения Стол
- Помещение Кабинет, Офис
Упаковка
- Объем упаковки, куб. м 0.0036
- Размер упаковки, мм 605x100x60
- Цвет лампы белый
- Мощность, приведенная к лампе накаливания, Вт 68
- Сопоставление с лампой накаливания в 6.8 раза больше
Для покупки товара в нашем интернет-магазине выберите понравившийся товар и добавьте его в корзину. Далее перейдите в Корзину и нажмите на «Оформить заказ» или «Быстрый заказ».
Когда оформляете быстрый заказ, напишите ФИО, телефон и e-mail. Вам перезвонит менеджер и уточнит условия заказа. По результатам разговора вам придет подтверждение оформления товара на почту или через СМС. Теперь останется только ждать доставки и радоваться новой покупке.
Оформление заказа в стандартном режиме выглядит следующим образом. Заполняете полностью форму по последовательным этапам: адрес, способ доставки, оплаты, данные о себе. Советуем в комментарии к заказу написать информацию, которая поможет курьеру вас найти. Нажмите кнопку «Оформить заказ».
Оплачивайте покупки удобным способом. В интернет-магазине доступно 3 варианта оплаты:
- Наличные при самовывозе или доставке курьером. Специалист свяжется с вами в день доставки, чтобы уточнить время и заранее подготовить сдачу с любой купюры. Вы подписываете товаросопроводительные документы, вносите денежные средства, получаете товар и чек.
- Безналичный расчет при самовывозе или оформлении в интернет-магазине: карты Visa и MasterCard. Чтобы оплатить покупку, система перенаправит вас на сервер системы ASSIST. Здесь нужно ввести номер карты, срок действия и имя держателя.
- Электронные системы при онлайн-заказе: PayPal, WebMoney и Яндекс.Деньги. Для совершения покупки система перенаправит вас на страницу платежного сервиса. Здесь необходимо заполнить форму по инструкции.
Экономьте время на получении заказа. В интернет-магазине доступно 4 варианта доставки:
- Курьерская доставка работает с 9.00 до 19.00. Когда товар поступит на склад, курьерская служба свяжется для уточнения деталей. Специалист предложит выбрать удобное время доставки и уточнит адрес. Осмотрите упаковку на целостность и соответствие указанной комплектации.
- Самовывоз из магазина. Список торговых точек для выбора появится в корзине. Когда заказ поступит на склад, вам придет уведомление. Для получения заказа обратитесь к сотруднику в кассовой зоне и назовите номер.
- Постамат. Когда заказ поступит на точку, на ваш телефон или e-mail придет уникальный код. Заказ нужно оплатить в терминале постамата. Срок хранения — 3 дня.
- Почтовая доставка через почту России. Когда заказ придет в отделение, на ваш адрес придет извещение о посылке. Перед оплатой вы можете оценить состояние коробки: вес, целостность. Вскрывать коробку самостоятельно вы можете только после оплаты заказа. Один заказ может содержать не больше 10 позиций и его стоимость не должна превышать 100 000 р.
Нужна консультация?
Наши специалисты ответят на любой интересующий вопрос